一、产品概述:
LWGY系列涡轮流量传感器(以下简称传感器)基于力矩平衡原理,属于速度式流量仪表。传感器具有结构简单、轻巧、精度高、重复性好、反应灵敏,安装维护使用方便等特点,广泛用于石油、化工、冶金、供水、造纸等行业,是流量计量和节能的理想仪表。
传感器与显示仪表配套使用,适用于测量封闭管道中与不锈钢1Cr18Ni9Ti、2Cr13及刚玉Al2O3、硬质合金不起腐蚀作用,且无纤维、颗粒等杂质的液体。若与具有特殊功能的显示仪表配套,还可以进行定量控制、超量报警等。选用本产品的防爆型式(ExmIIT6),可在有爆炸危险的环境中使用。
传感器适用于在工作温度下粘度小于5×10-6m2/s的介质,对于粘度大于5×10-6m2/s的液体,要对传感器进行实液标定后使用
如用户需用特殊形式的传感器,可协商订货,需防爆型传感器时,在订货中加以说明。
二、LWGY 基本型涡轮流量传感器
1、结构特征与工作原理
(1)结构特征
传感器为硬质合金轴承止推式,不仅保证精度,耐磨性能提高,而且具有结构简单、牢固以及拆装方便等特点。
(2)工作原理
流体流经传感器壳体,由于叶轮的叶片与流向有一定的角度,流体的冲力使叶片具有转动力矩,克服摩擦力矩和流体阻力之后叶片旋转,在力矩平衡后转速稳定,在一定的条件下,转速与流速成正比,由于叶片有导磁性,它处于信号检测器(由永久磁钢和线圈组成)的磁场中,旋转的叶片切割磁力线,周期性的改变着线圈的磁通量,从而使线圈两端感应出电脉冲信号,此信号经过放大器的放大整形,形成有一定幅度的连续的矩形脉冲波,可远传至显示仪表,显示出流体的瞬时流量或总量。在一定的流量范围内,脉冲频率f与流经传感器的流体的瞬时流量Q成正比,流量方程为:

式中:
f——脉冲频率[Hz]
k——传感器的仪表系数[1/m3],由校验单给出。
Q——流体的瞬时流量(工作状态下)[m3/h]
3600——秒时换算系数
每台传感器的仪表系数由制造厂填写在检定证书中,k值设入配套的显示仪表中,便可显示出瞬时流量和累积总量。
2、基本参数与技术性能
(一)基本参数:见表一
| LWGY□ | □□□ | □ | □ | □ | 说明 |
类型 | LWGY |
|
|
|
| 基本型,+5-24VDC供电 |
LWGB |
|
|
|
| 4~20mA两线制电流输出,远传变送型 |
LWY |
|
|
|
| 电池供电现场显示型 |
LWYC |
|
|
|
| 现场显示/4~20mA两线制电流输出 |
LWYD |
|
|
|
| RS485通讯输出 |
公称通径 | 4 |
|
|
| 4mm,普通涡轮流量范围0.04~0.25m³/h |
6 |
|
|
| 6mm,普通涡轮流量范围0.1~0.26m³/h |
10 |
|
|
| 10mm,普通涡轮流量范围0.2~1.2m³/h |
12 |
|
|
| 12mm,普通涡轮流量范围0.2~2m³/h |
15 |
|
|
| 15mm,普通涡轮流量范围0.6~6m³/h |
20 |
|
|
| 20mm,普通涡轮流量范围0.7~7m³/h |
25 |
|
|
| 25mm,普通涡轮流量范围1~1.0m³/h |
32 |
|
|
| 32mm,普通涡轮流量范围1.5~15m³/h |
40 |
|
|
| 40mm,普通涡轮流量范围2~20m³/h |
50 |
|
|
| 50mm,普通涡轮流量范围4~40m³/h |
65 |
|
|
| 65mm,普通涡轮流量范围7~70m³/h |
80 |
|
|
| 80mm,普通涡轮流量范围10~100m³/h |
100 |
|
|
| 100mm,普通涡轮流量范围20~200m³/h |
125 |
|
|
| 125mm,普通涡轮流量范围25~250m³/h |
150 |
|
|
| 150mm,普通涡轮流量范围30~300m³/h |
| 200 |
|
|
| 200mm,普通涡轮流量范围80~800m³/h |
防爆 |
|
|
| 无标记,为非防爆型 |
B |
|
| 防爆型 |
精度等级 | A |
| 精度0.5级 |
B |
| 精度1级 |
涡轮类型 | A | 宽量程涡轮 |
B | 普通涡轮 |
表一
DN4—DN40口径的传感器为螺纹连接,最大工作压力为6.3Mpa;
DN50—DN200口径的传感器为法兰连接, 最大工作压力为2.5Mpa;
DN4—DN10口径的传感器带有前后直管段。
DN15以上口径的传感器我公司可配套前后直管段。
(2)介质温度:-20~+120℃
(3)环境温度:-20~+65℃
(4)供电电源:电压:+6-24VDC, 电流:≤10mA.
电池供电时为3.6V/0.3mA。485通讯电流增加0.6mA。
3、安装、使用和调整
(1)安装
传感器的安装方式根据规格不同,采用螺纹或法兰连接,安装方式见图一、图二、图三,安装尺寸见表二。

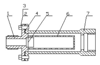
1.过滤器 2.前直管段 3.叶轮 4.前置放大器 5.壳体 6.后直管段
整表结构图

1.压紧圈 2.螺栓4×14 3.垫圈 4.密封垫圈
5.钢丝1Cr18Ni9Ti-0.8×2.5 6.过滤网 7.座
过滤器结构图
图一LWGY—4~10传感器结构及安装尺寸示意图

1.壳体 2.前导向件 3.叶轮 4.后导向件 5.前置放大器
图二 LWGY—15~40传感器结构及安装尺寸示意图

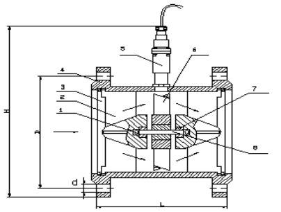
1.球轴承 2.前导向件 3.涨圈 4.壳体 5.前置放大器 6.叶轮 7.轴承 8.轴
图三 LWGY—50~200传感器结构及安装尺寸示意图
(2)LWGY型涡轮流量传感器接线说明:如图

(3)防爆型涡轮流量传感器接线说明:
打开后壳盖,如图:
I+ I- F+Fout F- 3.6+ 3.6- A B
电流输出时接I+和I- ,频率输出时24电源接F+和F-,频率线接Fout,电池供电时接3.6+和3.6-,485输出时24V电源接F+和F-485线接A和B。
(4)传感器结构尺寸图:表二
| 公称通径(mm) | L(mm) | H(mm) | G | L(mm) | D(mm) | D(mm) | 孔数 |
LWGY-4 | 4 | 275 | 145 | G1/2 | 215 |
|
|
|
LWGY-6 | 6 | 275 | 145 | G1/2 | 215 |
|
|
|
LWGY-10 | 10 | 455 | 165 | G1/2 | 350 |
|
|
|
LWGY-12 | 12 | 75 | 173 | G1 |
|
|
|
|
LWGY-15 | 15 | 75 | 173 | G1 |
|
|
|
|
LWGY-20 | 20 | 85 | 173 | G1 |
|
|
|
|
LWGY-25 | 25 | 100 | 173 | G5/4 |
|
|
|
|
LWGY-32 | 32 | 140 | 175 | G11/2 |
|
|
|
|
LWGY-40 | 40 | 140 | 178 | G2 |
| φ110 | φ18 | 4 |
LWGY-50 | 50 | 150 | 252 |
|
| φ125 | φ18 | 4 |
LWGY-65 | 65 | 180 | 278 |
|
| φ145 | φ18 | 4 |
LWGY-80 | 80 | 200 | 287 |
|
| φ160 | φ18 | 8 |
LWGY-100 | 100 | 220 | 322 |
|
| φ180 | φ18 | 8 |
LWGY-125 | 125 | 250 | 347 |
|
| φ210 | φ18 | 8 |
LWGY-150 | 150 | 300 | 367 |
|
| φ250 | φ22 | 8 |
LWGY-200 | 200 | 360 | 415 |
|
| φ295 | φ22 | 12 |
传感器可水平、垂直安装,垂直安装时流体方向必须向上。液体应充满管道,不得有气泡。安装时,液体流动方向应与传感器外壳上指示流向的箭头方向一致。传感器上游端至少应有20倍公称通径长度的直管段,下游端应不少于5倍公称通径的直管段,其内壁应光滑清洁,无凹痕、积垢和起皮等缺陷。传感器的管道轴心应与相邻管道轴心对准,连接密封用的垫圈不得深入管道内腔。
传感器应远离外界电场、磁场,必要时应采取有效的屏蔽措施,以避免外来干扰。
为了检修时不致影响液体的正常输送,建议在传感器的安装处,安装旁通管道。
传感器露天安装时,请做好放大器及插头的防水处理。传感器与显示仪表的接线如图四所示。
当流体中含有杂质时,应加装过滤器,过滤器网目根据流量杂质情况而定,一般为20~60目。当流体中混有游离气体时,应加装消气器。整个管道系统都应良好密封。
用户应充分了解被测介质的腐蚀情况,严防传感器受腐蚀。
(5)使用和调整
◆ 传感器在开始使用时,应先将传感器内缓慢的充满液体,然后再开启出口阀门,严禁传感器在无液体状态时受高速流体的冲击。
◆ 传感器的维护周期一般为半年。检修清洗时,请注意勿损伤测量腔内的零件,特别是叶轮。装配时注意导向件及叶轮的位置关系。
◆ 传感器不用时,应清洗内部液体,且在传感器两端加上防护套,防止尘垢进入,然后置于干燥处保存。
◆ 配用时的过滤器应定期清洗,不用时,应清洗内部的液体,同传感器一样,加防尘套,置于干燥处保存。
◆ 传感器的传输电缆可架空或埋地敷设(埋地时应套上铁管。)
◆ 在传感器安装前,先与显示仪表或示波器接好连线,通电源,用口吹或手拨叶轮,使其快速旋转观察有无显示,当有显示时再安装传感器。若无显示,应检查有关各部分,排除故障。
三、LWGB型涡轮流量变送器
LWGB型涡轮流量传感器是在LWGY基本型涡轮流量传感器的基础上增加了24VDC供电,4-20mA两线制电流变送功能,特别适合于与显示仪、工控机、DCS等计算机控制系统配合使用。
本变送器各口径的流量测量范围,传感器结构尺寸,安装方法,维护等内容请参阅说明书第二部分“LWGY基本型涡轮流量传感器”。
流量计算公式:Q=
式中:Q ——实际流量,m3/h
QF——流量测量上限值,m3/h,见表1
I ——电流输出,mA
变送器供电电压:24V,(12V—30V)
供电电压与负载电阻关系:RLMAX=
-100
式中:RLMAX——最大载电阻,Ω
U——供电电压,V
四、LWY型智能涡轮流量计
(一) 用户菜单操作
接通电源后,仪表首先自检,完成后进入屏1的工作主显示状态。

第一行:自检正常标志,有LCD背光打开,SAVE前显示IOUT为电流输出,FOUT为频率输出,485OUT为485输出。
第二行:瞬时流量。
第三行:累积流量。
第四行:流速显示,需设置口径后才显示。
按 SHIFT健在工作屏2与工作屏1之间切换

图表1菜单1

图表2菜单2

图表3 菜单3
该线路板通过外观可以发现有三个按键存在,它们的功能是:

其中第一个菜单为用户菜单密码默认是0000,用于用户做基本的设置,第二个菜单为参数查询,里边可以查询频率值,还有溢出标志,当流量大于一亿时主界面累积流量清零,此处溢出标志计1,溢出标志大于9时清零,标定参数里主要用于电流校准,以及还原出厂设置。
清累积量功能:在主界面长按中间按键大于5秒以上累积流量清零。
表格1用户参数设定菜单 用户菜单密码为2010。
子菜单序号 | 菜单显示 | 意义 | 选择项或数值范围 |
1 | 语言 | 中英文切换 | 切换中文和英文显示 |
2 | 算法选择 | 算法选择(默认0) | 00:常规体积流量 01:常规质量流量 |
3 | 流量单位选择 | 流量单位选择(默认0) | 0:m³/h 1:l/m 2:kg/h 3:l/h 4:t/h 5:kg/m 6:m3/m |
4 | 标定下限 | 用于做分段标定的下限值 | 默认是0,注意此处分段值设置的频率 |
5 | 标定上限 | 用于做分段标定的上限值 | 默认是0,上限标定有3个值, 举例标定下限为0,标定上限0设置为50,标定上限1设置为100, 流量系数0设置为3600,流量上限1设置为1800,则在频率为0-50HZ用3600系数进行运算,50-100HZ用 1800系数进行运算。 |
6 | 流量系数 | 流量系数(默认3600) | 设定仪表系数,单位为P/m3,仪表系数可以设置4个对应分段标定。 |
7 | 满度输出流量 | 满度输出流量(默认1000) | 当仪表输出4~20mA模拟信号时必须设定该值,且不得为0。 |
8 | 密度设置 | 密度设置(默认1000) | 当算法选择设置为质量流量时,必须设置此项,单位为kg/m3 |
9 | 下限切除流量 | 切除下限频率 | 下限切除0设置时切除小于该值的频率值,下限频率1和2设置时切除该2个值中间的值。 |
10 | 密码 | 设置密码 | 默认是0,用户可以任意设置四位数密码,当忘记密码时输入1111为万能密码。 |
11 | 背光 | 背光开关 | 此项为背光的开关,设置为0为关,设置为1时背光打开,默认为打开,打开时主界面左上角会出现LCD标志,客户可以根据需求开关。 |
12 | 口径 | 口径的设置 | 此处根据实际口径设置,此处如果是0,主界面流速显示为0,如需流速显示此处必须设置对应口径。 |
五、生产校验
仪表的生产调校应由对仪表有较深了解的专业人员在有相应精度的校准设备的条件下进行。在二线制调校时至少应有量程>20mA,精度优于0.1%的电流表。
生产调校和一些高级设置均在生产设置态进行,如无相应设备和足够的专业知识,调校不当将导致仪表不能正常工作。密码确认后,即可进入生产设置状态,根据不同的仪表型号,设置相应的仪表参数。
打开表前盖,按表2定义依次按选择需要的设定的参数菜单,进入生产校验菜单
表格2生产校验菜单表对应菜单3 校验菜单密码为4321。
子菜单序号 | 菜单显示 | 意义 | 备注 |
1 | 4mA校准 | 4mA电流标定 | 所有校准必须保证该值为4.0000校准,举例此时电流表显示3.9956,在该处输入3.9956即可,建议不要随意更改此处和20MA出设置,因为仪表对比其他仪表配置了16位高精度DA转换芯片,比一般万用表精度都要高,可以保证千分之1.5以内的精度 |
2 | 20mA校准 | 20mA电流标定 | 同上,区别为此菜单下必须保证该值为20.000的时候进行校准。 |
3 | RESET | 此处为出厂校验设置 | 禁止重置参数,会影响仪表运行和计量精度 |
六、维修和常见故障
传感器可能产生的一般故障及消除方法见表三,维护周期不应超过半年。
序号 | 故障现象 | 原因 | 消除方法 |
1 | 显示仪对流量信号和检验信号均无显示 | 1. 电源未接通,给定电压不对。 2. 显示仪有故障。 | 1. 接通电源,按要求给定电压。 2. 检修显示仪表。 |
2 | 显示仪表对“校验”信号有显示但对流量信号无显示。 | 1. 传感器与显示仪间接线有误,或有开路,短路,接触不良等故障 2. 放大器有故障或损坏。 3. 转换器(线圈)开路或短路。 4. 叶轮被卡住。 管道无流体流动或堵塞。 | 1. 对照附图四,检查接线的正确 性和接线质量。 2. 维修或更换放大器。 3. 维修或更换线圈。 4. 清洗传感器及管道。 开通阀门或泵,清洗管道。 |
3 | 显示仪表工作不稳;计量不正确。 | 1. 实际流量超出仪表的计量范围或不稳定。 2. 仪表系数K设置有误。 3. 传感器内挂上纤维等杂质。 4. 液体内有气泡存在。 5. 传感器旁有较强的电磁场干扰。 6. 传感器轴承及轴严重磨损。 7. 传感器电缆屏蔽层或其它接地导线与线路地线断开或接触不良。 8. 显示仪表故障。 | 1. 使被测流量与传感器的测量范围相适应,并稳定流量。 2. 使系数K设置正确。 3. 清洗传感器。 4. 采取消气措施,消除气泡。 5. 尽量远离干扰源或采取屏蔽措施。 6. 更换”导向件“或“叶轮轴”。 7. 对照附图四,将线接好。 8. 检修显示仪表。 |
表三
用户遵守说明书的规定进行保管和使用的情况下,从制造厂发货日起一年内,传感器因制造不良以至不能正常工作时,制造厂可免费修理。
七、运输、贮藏
传感器应装入坚固的木箱或纸箱内,不允许在箱内自由窜动,在搬运时小心轻放,不允许野蛮装卸。
存放地点应符合以下条件:
a.防雨防潮。
b.不受机械震动或冲击。
c.温度范围-20℃~+65℃。
d.相对湿度不大于80%.
e.环境中不含腐蚀性气体。
八、开箱注意事项
1.开箱后,按装箱单检查文件和附件是否齐全。
装箱文件有:使用说明书一份
产品合格证一张
2.观察传感器是否有因运输而产生损坏等现象,以便妥善处理。
3.户妥善保存“合格证书”切勿丢失,否则无法设定仪表系数!
九、订货须知
用户在定购涡轮流量传感器时要注意根据流体的公称口径、工作压力、工作温度、流量范围、流体种类和环境条件选择合适的规格。当有防爆要求时必须选防爆型传感器,并严格注意防爆等级。
需要我公司的显示仪表配套时,请参阅相应的说明书,选用合适的型号,或由我公司技术人员根据您提供的资料替您设计选型。需要传输信号用的电缆时注明规格长度。